These patents was brought to our attention by Blooloop… However, these patents also suggest that Universal are trying to possibly create their own Hollywood Tower of Terror.
Universal has filed patents for 2 new tower rides (attractions) – the first with interactive features and the second with rooms stacked up a tower with a rotating lift system. Find out more about each patent below:
Interactive Tower Ride
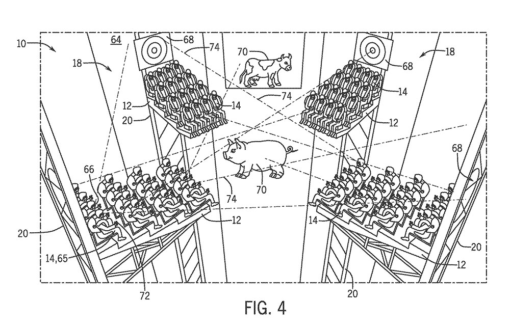
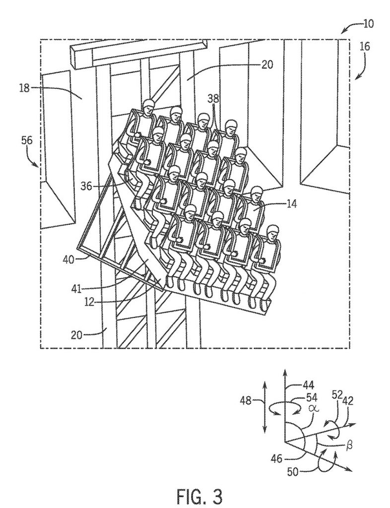
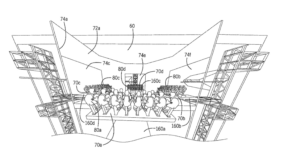
The interactive tower ride features 4 towers with ride vehicles for 1 or more passengers. The ride is interactive, with riders having some control over the vehicles motion and media.
The patent mentions AR, VR projection and SFX, creating an “immersive environment with which the riders may interact”.
There are also gaming components with the ride experience being impacted with scores built up by the riders. It appears that the tilt or yaw of a ride vehicle could be affected by the actions of the passengers of another ride vehicle.
Rotating Lift with Stacked Rooms
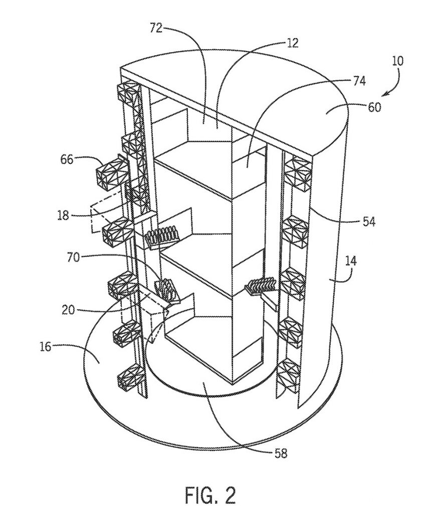
The rotating lift with stacked rooms is “a plurality of rooms stacked atop one another”. The ride vehicles are able to go in and out of the rooms and rotate and twist and ascend and descend the tower. This ride system allows for flexibility in the patent taken by the ride vehicle, thus allow a number of different potential experiences.
In case you don’t know, patents aren’t always used. However, they offer an insight into the “direction of research at theme parks”.
At this time, it’s not know which Intellectual Properties (IPs) Universal may be thinking of creating these rides for or which park they would occupy.
However, a rotating tower lift with stacked rooms in Universal’s Epic Universe based on a Universal classic monster1 sounds good to us!
1: RUMOUR: Universal classic monster land likely to appear in Universal’s Epic Universe. Find out more here.
Do you have a suggestion for a ride that Universal could create using the above mentioned systems? Comment below.












![New Aerial Photos Show Construction Progress of SEAQuest: Legends of the Deep at SeaWorld Orlando [Part #6]](https://orlandothemeparkzone.com/wp-content/uploads/2026/02/31st-January-New-Aerial-Photos-Show-Construction-Progress-of-SEAQuest-Legends-of-the-Deep-at-SeaWorld-Orlando-Aerial-Photo-1.jpeg)
