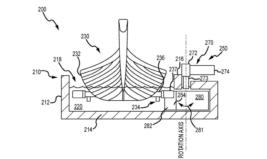
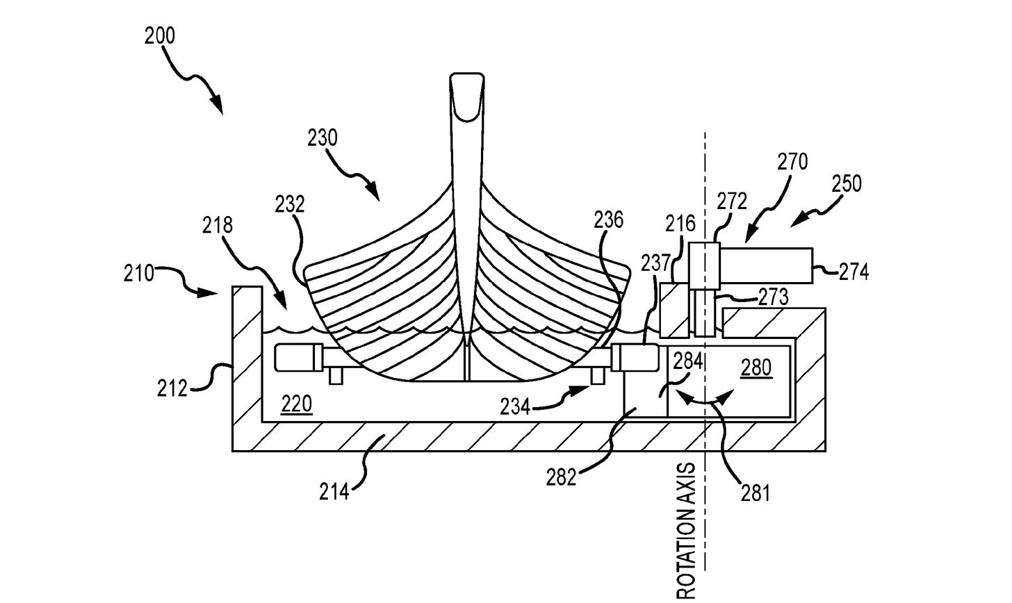
Disney is looking to develop a system which will allow for better efficiency on water rides, according to a patent published on the 29th August, 2019.
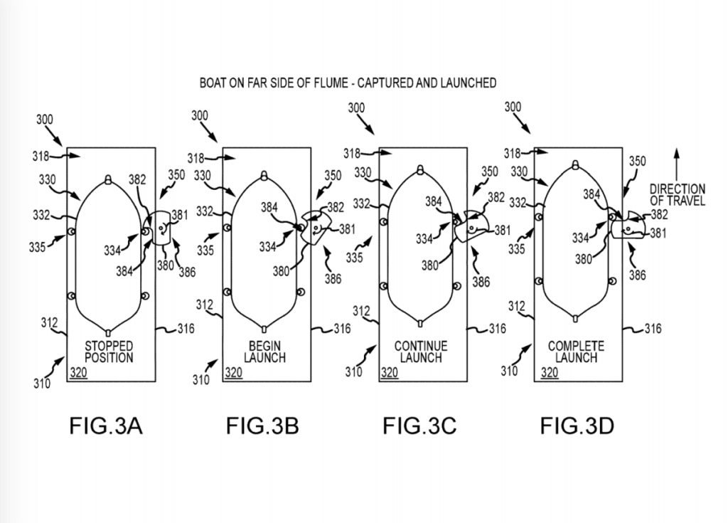
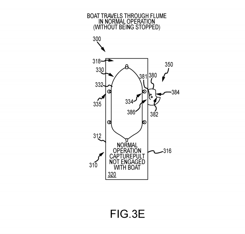
The “capturepult” system/mechanism would work both as a boat stop and as a boat accelerator. It would also work as a launcher when the boat is allowed to move1.
1: from an unload/load station, metering point on ride etc.
The problem, which spawned this system per say, is that on a traditional flume boat ride, a stopped boat would only start moving forward again due to the flow of the water.
Using the above-mentioned system, the boat would be launched back into the ride via an accelerator system, not just depending on the water flow.
Essentially, increasing the efficiency of the ride by getting boats back into position following a stop quicker than just the flow of water would allow.
It would be fitting to suggest the capturepult system would rely on an arm of some kind. Not only to stop the boat, but it would also accelerate it back into the ride’s flume.
Being able to stop a boat for a scene of a ride or returning it to speed following the stop would increase the overall capacity of a boat-specific attraction.
It cannot be confirmed nor denied on whether Disney might use this system/mechanism in the near future.
Diagrams relating to the system/mechanism can be found below.


Credit: WDWNT 
Credit: WDWNT







![New Aerial Photos Show Construction Progress of SEAQuest: Legends of the Deep at SeaWorld Orlando [Part #6]](https://orlandothemeparkzone.com/wp-content/uploads/2026/02/31st-January-New-Aerial-Photos-Show-Construction-Progress-of-SEAQuest-Legends-of-the-Deep-at-SeaWorld-Orlando-Aerial-Photo-1.jpeg)
