A patent which was recently published shows Disney’s plans for a Soarin’ 2.0 flying theater ride that allows for a more lightweight machine and greater range of motion for flying simulation attractions.
This new concept aims to improve upon the current “casual” flying theater experience by introducing new thrills that would create “more aggressive” sensations then currently possible.
The new flying theater concept would introduce turbulence, heaving forward and backward, pitch, and roll. The patent drawings below aim to show how the new flying theater for Soarin’ 2.0 would improve the flying experience.
Guests could load into the ride similar to the current version of Soarin’. However, vehicle loading would take place at the lowest point of the superstructure to allow ease of access and efficiency when compared to loading at different levels.

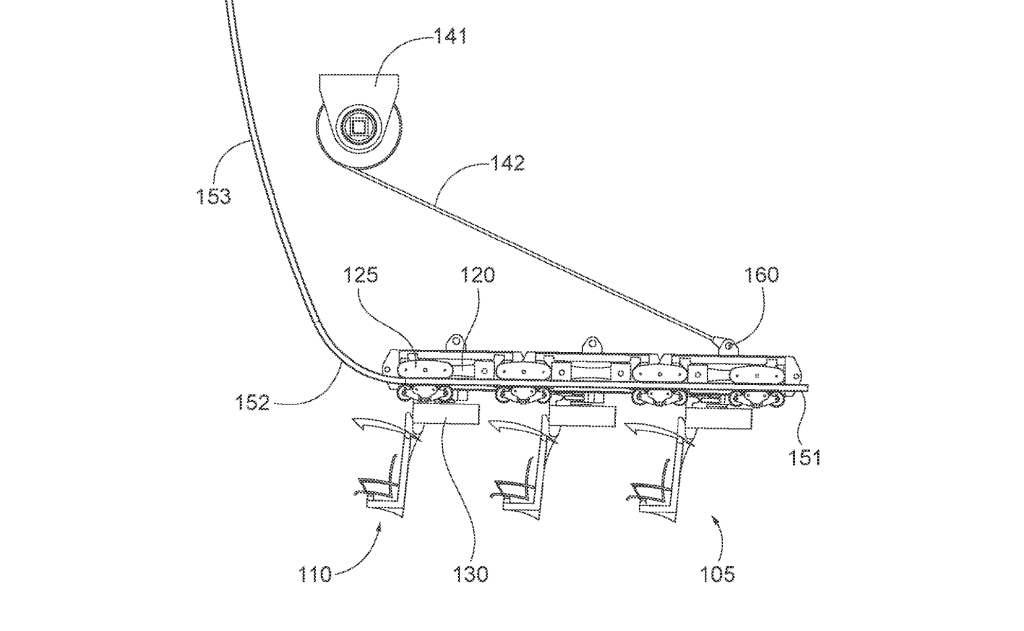
The patent drawing below offers a wider look at the structure as a whole. There would be three stages for the ride – a load section, a transition section, and a show section. The drawing below shows the ride vehicle in the load section.

Cables would retract following the loading process, propelling the rider forward and up along the curvature of the rail track. A second curvature in the rail would start to lift the riders into the vertical show position as illustrated in the patent drawing below.

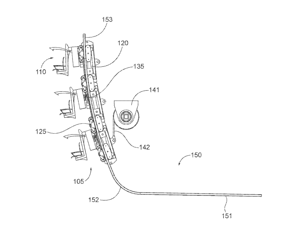
When in the vertical show position, the row of seats/ride vehicle is capable of being moved up or down, pitching up or down, or rolling.
A second implementation is described where the loading takes place “above” the superstructure as seen in the patent drawing below. The ride would then push forward over the edge of the loading platform and down into the same vertical show position as the implementation with a ground-loading experience.



The mechanics of Soarin 2.0 ride vehicle would allow for the ability to pitch the seats up or down, as well as roll the vehicle as illustrated in the patent drawings below.


The patent suggests that this flying theater ride vehicle implementation is “intended to replicate the motion of a non-specific flying machine, having the ability to replication motions that are more aggressive than the traditional floating or gliding experience.”
Stay tuned to Orlando Theme Park Zone for more Orlando theme park-related news and information.
H/T Blog Mickey
JOIN OUR WALT DISNEY WORLD – NEWS & TIPS FACEBOOK GROUP HERE! | JOIN OUR EPCOT (WALT DISNEY WORLD) – NEWS & TIPS FACEBOOK GROUP HERE!







![New Aerial Photos Show Construction Progress of SEAQuest: Legends of the Deep at SeaWorld Orlando [Part #6]](https://orlandothemeparkzone.com/wp-content/uploads/2026/02/31st-January-New-Aerial-Photos-Show-Construction-Progress-of-SEAQuest-Legends-of-the-Deep-at-SeaWorld-Orlando-Aerial-Photo-1.jpeg)
